AIRBAG SYSTEM > Side Airbag Module
INSTALLATION
CAUTION:
• Before handling the airbag system components, refer to “CAUTION” of “General Description” in “AIRBAG SYSTEM”. General Description > CAUTION">
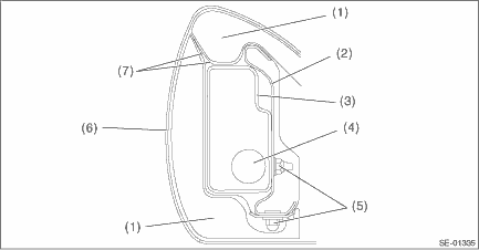
• Make sure that the side airbag module is installed as shown in the figure.

(1) | Pad ASSY - front seat backrest | (4) | Side airbag module inflator | (7) | Side airbag guide cloth |
(2) | Frame ASSY - front backrest | (5) | Nut | ||
(3) | Side airbag module protective cover | (6) | Cover COMPL - front backrest |
• Be careful not to stain or damage the cover COMPL - front backrest during assembly.
• Do not reuse hog rings.
• Secure the hog ring using hog ring pliers.
• Install the hog rings to the specified points securely and make sure that there is no wrinkle or twisting on the cover COMPL - front backrest.
1. Before installation, inspect the following items and replace any faulty part with a new one.
• Make sure that there is no foreign matter on side airbag module.
• Front seat, airbag module and mounting bracket are damaged or deformed.
• Harness and/or connector is cracked, deformed or open.
• Harness wire is exposed.
2. Install the side airbag module to the frame assembly - front backrest.
Tightening torque:
Side airbag module: 6 N·m (0.61 kgf-m, 4.4 ft-lb)
3. Install the side airbag harness to the frame assembly - front backrest.
4. Install the cover COMPL - front backrest.
5. Secure the backrest hinge.

Tightening torque:
Refer to “COMPONENT” of “General Description”. General Description > COMPONENT">
6. Install the side airbag harness to the back of the seat cushion assembly using a cable clip.
CAUTION:
After restoring the seat, operate the reclining and sliding mechanisms to check that the side airbag harness is not caught.
7. Install the front seat assembly to the body. Front Seat > INSTALLATION">
8. Connect the battery ground terminal. NOTE">
RemovalRemoval
EXTERIOR/INTERIOR TRIM > Rear Gate TrimREMOVAL1. Remove the trim panel - rear gate UPR.(1) Remove the claws on the trim edge.(2) Release the claws in the center of trim, and remove the trim panel - rear gate UPR.2. Remove the trim panel - rear gate pillar side.(1) Release the claws.(2) Remove the ...
Electrical component location Location
AUTO HEADLIGHT BEAM LEVELER SYSTEM (DIAGNOSTICS) > Electrical Component LocationLOCATION(1)Headlight ASSY– Headlight beam leveler actuator(4)Headlight relay (Hi)(7)Combination meter(2)Rear vehicle height sensor(5)Body integrated unit(8)Fuse 10 A (auto headlight beam leveler CM)(3)Headlight rel ...
Dtc p0132 a/f / o2 sensor circuit high voltage bank 1 sensor 1
ENGINE (DIAGNOSTICS)(H4DO) > Diagnostic Procedure with Diagnostic Trouble Code (DTC)DTC P0132 A/F / O2 SENSOR CIRCUIT HIGH VOLTAGE BANK 1 SENSOR 1DTC DETECTING CONDITION:Immediately at fault recognitionCAUTION:After servicing or replacing faulty parts, perform Clear Memory Mode Clear Memory Mode ...