POWER ASSISTED SYSTEM (POWER STEERING) > Universal Joint
INSTALLATION
1. Before installation, check the universal joint assembly - steering. Universal Joint > INSPECTION">
2. Adjust the tilt position of the column assembly - steering to the neutral position and lock the tilt lever.

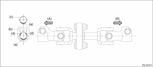
3. Align the cutout portion (a) at serrated section of the column shaft (c) and yoke (b), then install the universal joint assembly - steering into column shaft.
CAUTION:
Be sure to align the protrusion section (a) of the column shaft side with the cutout (a) of the serration. If another cutout portions (d) are used for alignment, the bolt of the universal joint assembly - steering cannot be assembled.

(A) | Column shaft side | (B) | Gearbox side |
4. Install the universal joint assembly - steering to the serrations of the gearbox assembly by matching the alignment marks.
5. Tighten the bolts on the gearbox side first, and then the column shaft side.
CAUTION:
Be sure to follow the tightening order and tightening torque of the universal joint assembly - steering to avoid the steering effort from becoming heavy.
Tightening torque:
24 N·m (2.45 kgf-m, 17.7 ft-lb)
Clearance:
Universal joint assembly - steering coupling to adjacent parts: 15 mm (0.59 in) or more
Removal
General diagnostic table InspectionGeneral diagnostic table Inspection
CONTROL SYSTEMS > General Diagnostic TableINSPECTIONSymptomsPossible causeCorrective actionSelect leverStarter does not run.Adjust the select cable and inhibitor switch, or inspect the circuit.Back-up light does not illuminate.Adjust the select cable and inhibitor switch, or inspect the circuit.A ...
Throttle position sensor Specification
FUEL INJECTION (FUEL SYSTEMS)(H4DO) > Throttle Position SensorSPECIFICATIONThrottle body is a non-disassembled part, so do not remove the throttle position sensor from throttle body.Refer to “Throttle Body” for removal and installation procedure. Throttle Body > REMOVAL"> ...
General precautions regarding SRS airbag system
WARNING
To obtain maximum protection in
the event of an accident, the
driver and all passengers must
always wear seatbelts when in
the vehicle. The SRS airbag is
designed only to be a supplement
to the primary protection
provided by the seatbelt. It does
not eliminate the need to ...