FUEL INJECTION (FUEL SYSTEMS)(H4DO) > Fuel Filler Pipe
INSTALLATION
1. Open the fuel filler lid.
2. Insert the fuel filler pipe assembly into the rubber saucer from inside of the rear fender.
3. Install the fuel filler pipe assembly to the vehicle.
Tightening torque:
7.5 N·m (0.8 kgf-m, 5.5 ft-lb)

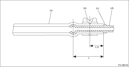
4. Securely insert the fuel filler hose (A) and evaporation hose (B) until the hose end contacts the spool, then attach the clamp or clip as shown in the figure.
Tightening torque:
2.5 N·m (0.3 kgf-m, 1.8 ft-lb)


(a) | Hose | (c) | Spool or bump | (d) | Pipe |
(b) | Clamp or clip |
5. Install the rear mud guard RH. Mud Guard > INSTALLATION">
6. Install the rear sub frame assembly. Rear Sub Frame > INSTALLATION">
7. Connect the battery ground terminal.

8. Inspect the wheel alignment and adjust if necessary.
9. Perform reinitialization of the auto headlight beam leveler system. (Model with auto headlight beam leveler) Auto Headlight Beam Leveler System > PROCEDURE">
10. Adjust the steering angle sensor. VDC Control Module and Hydraulic Control Unit (VDCCM&H/U) > ADJUSTMENT">
Removal
Fuel filterInstallation
ENTERTAINMENT > Switches and HarnessINSTALLATION1. SATELLITE SWITCH ASSEMBLYCAUTION:• Before handling the airbag system components, refer to “CAUTION” of “General Description” in “AIRBAG SYSTEM”. General Description > CAUTION">• Do not a ...
Dtc u0140 lost communication with body control module
KEYLESS ACCESS WITH PUSH BUTTON START SYSTEM (DIAGNOSTICS) > Diagnostic Procedure with Diagnostic Trouble Code (DTC)DTC U0140 LOST COMMUNICATION WITH BODY CONTROL MODULEDetected when CAN data from BIU does not arrive.NOTE:Perform the diagnosis for LAN system. Basic Diagnostic Procedure > PROC ...
Dtc p0031 a/f / o2 heater control circuit low bank 1 sensor 1
ENGINE (DIAGNOSTICS)(H4DO) > Diagnostic Procedure with Diagnostic Trouble Code (DTC)DTC P0031 A/F / O2 HEATER CONTROL CIRCUIT LOW BANK 1 SENSOR 1DTC DETECTING CONDITION:Immediately at fault recognitionCAUTION:After servicing or replacing faulty parts, perform Clear Memory Mode Clear Memory Mode ...