FUEL INJECTION (FUEL SYSTEMS)(H4DO) > Fuel Sub Level Sensor
INSPECTION
1. Check that the fuel sub level sensor has no damage.
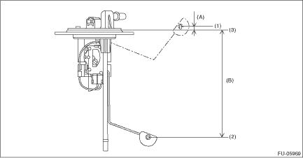
2. Measure the fuel sub level sensor float position.

(1) | FULL | (2) | EMPTY | (3) | Datum points |
Float position | Standard |
FULL to Datum point (A) | 5.31±3.5 mm (0.209±0.138 in) |
EMPTY to Datum point (B) | 160.6±3.5 mm (6.32±0.138 in) |
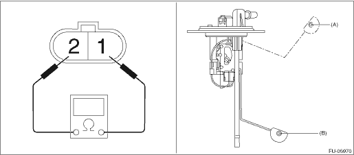
3. Measure the resistance between fuel sub level sensor terminals.

Float position | Terminal No. | Standard |
FULL (A) | 1 and 2 | 8.7±1.0 ? |
EMPTY (B) | 270.9±4.0 ? |
RemovalDtc p0021 "a" camshaft position - timing over-advanced or system performance bank 2
ENGINE (DIAGNOSTICS)(H4DO) > Diagnostic Procedure with Diagnostic Trouble Code (DTC)DTC P0021 "A" CAMSHAFT POSITION - TIMING OVER-ADVANCED OR SYSTEM PERFORMANCE BANK 2DTC detecting condition:Detected when two consecutive driving cycles with fault occur.Trouble symptom:• Engine sta ...
Dtc p013b o2 sensor slow response - lean to rich bank 1 sensor 2
ENGINE (DIAGNOSTICS)(H4DO) > Diagnostic Procedure with Diagnostic Trouble Code (DTC)DTC P013B O2 SENSOR SLOW RESPONSE - LEAN TO RICH BANK 1 SENSOR 2NOTE:For the diagnostic procedure, refer to DTC P013A. Diagnostic Procedure with Diagnostic Trouble Code (DTC) > DTC P013A O2 SENSOR SLOW RESPONS ...
Sound settings
Touch the tab to set the
sound quality.
Item
Function
Balance/
Fader
Select to adjust speaker volume
balance (right/left and front/rear).
Speed Volume
Control
Select to adjust speaker volume
coupled to vehicle speed.
Graphic
Equa ...