WIPER AND WASHER SYSTEMS > General Description
COMPONENT
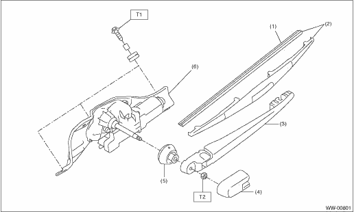
1. FRONT WIPER
• Models without EyeSight

(1) | Motor ASSY - windshield wiper | (6) | Rubber ASSY - windshield wiper driver | Tightening torque: N·m (kgf-m, ft-lb) | |
(2) | Link ASSY - windshield wiper | (7) | Arm ASSY - windshield wiper assistor | T1: | 5.5 (0.56, 4.1) |
(3) | Cover - windshield wiper arm | (8) | Blade ASSY - windshield wiper assistor | T2: | 6 (0.61, 4.4) |
(4) | Arm ASSY - windshield wiper driver | (9) | Rubber ASSY - windshield wiper assistor | T3: | 26 (2.65, 19.2) |
(5) | Blade ASSY - windshield wiper driver | ||||
• Models with EyeSight

(1) | Motor ASSY - windshield wiper | (6) | Rubber ASSY - windshield wiper driver | Tightening torque: N·m (kgf-m, ft-lb) | |
(2) | Link ASSY - windshield wiper | (7) | Arm ASSY - windshield wiper assistor | T1: | 5.5 (0.56, 4.1) |
(3) | Cover - windshield wiper arm | (8) | Blade ASSY - windshield wiper assistor | T2: | 6 (0.61, 4.4) |
(4) | Arm ASSY - windshield wiper driver | (9) | Rubber ASSY - windshield wiper assistor | T3: | 26 (2.65, 19.2) |
(5) | Blade ASSY - windshield wiper driver | ||||
2. REAR WIPER

(1) | Rubber ASSY - rear wiper | (4) | Cover - rear wiper arm | Tightening torque: N·m (kgf-m, ft-lb) | |
(2) | Blade ASSY - rear wiper | (5) | Cap - pivot wiper | T1: | 6 (0.61, 4.4) |
(3) | Arm ASSY - rear wiper | (6) | Motor ASSY - rear wiper | T2: | 8 (0.82, 5.9) |
3. WASHER TANK
• Models without EyeSight

(1) | Clip | (7) | Motor pump ASSY - washer rear | Tightening torque: N·m (kgf-m, ft-lb) | |
(2) | Holder - windshield washer tank | (8) | Hose - windshield washer | T: | 6 (0.61, 4.4) |
(3) | Tank - washer | (9) | Nozzle - windshield washer | ||
(4) | Sensor - washer tank | (10) | Hose ASSY - rear washer | ||
(5) | Packing - washer motor | (11) | Grommet - washer hose | ||
(6) | Motor pump ASSY - washer front | (12) | Nozzle - rear washer | ||
• Models with EyeSight

(1) | Clip | (7) | Motor pump ASSY - washer rear | (13) | Grommet - washer hose |
(2) | Holder - windshield washer tank | (8) | Hose - windshield washer | (14) | Nozzle - rear washer |
(3) | Tank - washer | (9) | Nozzle - windshield washer | ||
(4) | Sensor - washer tank | (10) | Joint - washer hose | Tightening torque: N·m (kgf-m, ft-lb) | |
(5) | Packing - washer motor | (11) | Cover - joint | T: | 6 (0.61, 4.4) |
(6) | Motor pump ASSY - washer front | (12) | Hose ASSY - rear washer | ||
Specification
Preparation toolDtc c2532 control module peripheral circuit
POWER ASSISTED SYSTEM (POWER STEERING) (DIAGNOSTICS) > Diagnostic Procedure with Diagnostic Trouble Code (DTC)DTC C2532 CONTROL MODULE PERIPHERAL CIRCUITTROUBLE SYMPTOM:• The steering wheel operation feels heavy.• STEERING warning light illuminates.WIRING DIAGRAM:Electric power steeri ...
Dtc c1424 ecm
VEHICLE DYNAMICS CONTROL (VDC) (DIAGNOSTICS) > Diagnostic Procedure with Diagnostic Trouble Code (DTC)DTC C1424 ECMDTC detecting condition:ECM malfunctioningTrouble symptom:• ABS does not operate.• VDC does not operate.• Hill start assist does not operate.STEPCHECKYESNO1.CHECK E ...
Dtc p0400 egr "a" flow
ENGINE (DIAGNOSTICS)(H4DO) > Diagnostic Procedure with Diagnostic Trouble Code (DTC)DTC P0400 EGR "A" FLOWDTC detecting condition:Detected when two consecutive driving cycles with fault occur.Trouble symptom:• Movement performance problem when engine is low speed• Improper i ...