AIRBAG SYSTEM > Airbag Connector
PROCEDURE
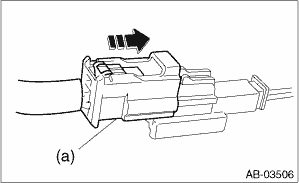
1. POWER SUPPLY
1. How to disconnect:
CAUTION:
When pulling the slide lock or disconnecting connector, be sure to hold the connector, not the harness.
(1) Push the lock (a).
(2) While holding down the lock (a), disconnect the connector.

2. How to connect:
CAUTION:
Be sure to insert the connector in until it is locked. Then pull it gently to make sure that it is locked.
Holding the connector, push it in securely until a clicking sound is heard.

2. AIRBAG CONTROL MODULE
1. How to disconnect:
(1) Push the lock lever plate (a).
(2) While holding down the lock lever plate (a), pull the lever toward you.

2. How to connect:
CAUTION:
Be sure to insert the connector in until it is locked. Then pull it gently to make sure that it is locked.
Insert the connector and push the lock lever in securely.
3. DRIVER’S AIRBAG MODULE (ROLL CONNECTOR)
1. How to disconnect:
CAUTION:
When pulling the slide lock or disconnecting connector, be sure to hold the connector, not the harness.
(1) Pull the slide lock (a) in the direction of arrow.
(2) With the slide lock pulled, disconnect the connector.

2. How to connect:
CAUTION:
Be sure to insert the connector in until it is locked. Then pull it gently to make sure that it is locked.
Holding the connector, push it in securely until a clicking sound is heard.

4. PASSENGER’S AIRBAG MODULE
1. How to disconnect:
CAUTION:
When pulling the slide lock or disconnecting connector, be sure to hold the connector, not the harness.
(1) Pull the slide lock (a) in the direction of arrow.
(2) With the slide lock pulled, disconnect the connector.

2. How to connect:
CAUTION:
Be sure to insert the connector in until it is locked. Then pull it gently to make sure that it is locked.
Holding the connector, push it in securely until a clicking sound is heard.

5. DRIVER’S AIRBAG MODULE, CURTAIN AIRBAG MODULE & PRETENSIONER
1. How to disconnect:
(1) Using a flat tip screwdriver, pry the push lock upward to unlock.
(2) Pull the connector to disconnect from the airbag module assembly or the retractor assembly.

2. How to connect:
CAUTION:
• Be sure to insert the connector in until it is locked.
• Press in the push lock securely. Then pull it gently to make sure that it is locked.

Connect the connector in the reverse order of disconnecting. At this time, be sure to insert until a clicking sound is heard.
6. FRONT SUB SENSOR
1. How to disconnect:
CAUTION:
When pulling the slide lock or disconnecting connector, be sure to hold the connector, not the harness.
(1) Push the lock arm.
(2) Holding outer part, pull it one step in the direction of arrow.

(3) Push the lock arm again.
(4) Holding outer part, pull it in the direction of arrow to disconnect the connector.

2. How to connect:
CAUTION:
Be sure to insert the connector in until it is locked. Then pull it gently to make sure that it is locked.
Holding the connector, push it in securely until a clicking sound is heard.

7. FRONT DOOR IMPACT SENSOR AND SATELLITE SAFING SENSOR
1. How to disconnect:
CAUTION:
When pulling the slide lock or disconnecting connector, be sure to hold the connector, not the harness.
Holding outer part (a), pull it in the direction of arrow.

2. How to connect:
CAUTION:
• The outer part (a) returns to the original position. Therefore do not touch the outer part.
• Be sure to insert the connector in until it is locked. Then pull it gently to make sure that it is locked.
Holding the connector, push it in securely until a clicking sound is heard.

8. FRONT DOOR IMPACT SENSOR (BETWEEN AIRBAG REAR HARNESS AND DOOR HARNESS)
1. How to disconnect:
CAUTION:
When pulling the slide lock or disconnecting connector, be sure to hold the connector, not the harness.
(1) Pull the slide lock (a) in the direction of arrow.
(2) With the slide lock pulled, disconnect the connector.

2. How to connect:
CAUTION:
• The outer part (a) returns to the original position. Therefore do not touch the outer part.
• Be sure to insert the connector in until it is locked. Then pull it gently to make sure that it is locked.
Holding the connector, push it in securely until a clicking sound is heard.

9. SIDE AIRBAG SENSOR AND CURTAIN AIRBAG SENSOR
1. How to disconnect:
CAUTION:
When pulling the slide lock or disconnecting connector, be sure to hold the connector, not the harness.
(1) Push the lock arm.
(2) Holding outer part, pull it one step in the direction of arrow.

(3) Push the lock arm again.
(4) Holding outer part, pull it in the direction of arrow to disconnect the connector.

2. How to connect:
CAUTION:
Be sure to insert the connector in until it is locked. Then pull it gently to make sure that it is locked.
Holding the connector, push it in securely until a clicking sound is heard.

10. SIDE AIRBAG MODULE
1. How to disconnect:
CAUTION:
When pulling the slide lock or disconnecting connector, be sure to hold the connector, not the harness.
(1) Move the slide lock (a) in the direction of arrow and hold it.
(2) While holding the slide lock (a), pull the connector (b) in the direction of arrow.

2. How to connect:
CAUTION:
Be sure to insert the connector in until it is locked. Then pull it gently to make sure that it is locked.
Holding the connector, push it in securely until a clicking sound is heard.

11. BUCKLE SWITCH RH
1. How to disconnect:
CAUTION:
When pulling the slide lock or disconnecting connector, be sure to hold the connector, not the harness.
(1) Move the slide lock (A) in the direction of arrow and hold it.
(2) While holding the slide lock (A), pull the connector (B) in the direction of arrow.

2. How to connect:
CAUTION:
Be sure to insert the connector in until it is locked. Then pull it gently to make sure that it is locked.
Holding the connector, push it in securely until a clicking sound is heard.

12. OCCUPANT DETECTION SYSTEM (BETWEEN AIRBAG REAR HARNESS AND SEAT HARNESS)
Refer to “OCCUPANT DETECTION SYSTEM” section. Airbag Connector > PROCEDURE">
13. KNEE AIRBAG MODULE
1. How to disconnect:
(1) Using a flat tip screwdriver, pry the push lock upward to unlock.
(2) Pull the connector to disconnect from the airbag module assembly.

2. How to connect:
CAUTION:
• Be sure to insert the connector in until it is locked.
• Press in the push lock securely. Then pull it gently to make sure that it is locked.

Connect the connector in the reverse order of disconnecting. At this time, be sure to insert until a clicking sound is heard.
Removal
Airbag module disposal (deployment processing on vehicle) ProcedureDtc u0416 invalid data received from vehicle dynamics control module
POWER ASSISTED SYSTEM (POWER STEERING) (DIAGNOSTICS) > Diagnostic Procedure with Diagnostic Trouble Code (DTC)DTC U0416 INVALID DATA RECEIVED FROM VEHICLE DYNAMICS CONTROL MODULENOTE:Refer to “LAN SYSTEM” for diagnostic procedure. Basic Diagnostic Procedure"> ...
Inspection
LIGHTING SYSTEM > Relay and FuseINSPECTION1. CHECK FUSE1. Remove the fuse and inspect visually.2. If the fuse is blown out, replace the fuse.NOTE:If the fuse is blown again, check the system wiring harness.2. CHECK RELAY1. Check the resistance between relay terminals.Terminal No.Inspection condit ...
Basic inspection
WIRING SYSTEM > Basic Diagnostic ProcedureBASIC INSPECTION1. VOLTAGE MEASUREMENT1. Using a voltmeter, connect the negative lead to a good ground point or negative battery terminal and the positive lead to the connector or component terminal.2. Contact the positive lead of the voltmeter on connect ...