CLUTCH SYSTEM > Clutch Pedal
ADJUSTMENT
1. Turn the lock nut until the full stroke of clutch pedal becomes within the specification.
CAUTION:
When adjusting the full stroke of clutch pedal, do not turn the clutch switch.
NOTE:
If the lock nut cannot adjust the full stroke of clutch pedal to the specified value, adjust it by turning the master cylinder push rod.
Clutch pedal full stroke A:
130 — 135 mm (5.12 — 5.31 in)
Tightening torque (clutch switch lock nut):
T: 8 N·m (0.8 kgf-m, 5.9 ft-lb)

2. If the full stroke is not within the specified value, loosen the clutch switch lock nut to adjust.
Tightening torque:
8 N·m (0.8 kgf-m, 5.9 ft-lb)
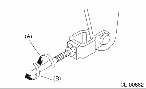
3. Loosen the push rod lock nuts.

(A) | Push rod lock nut |
4. Make sure that the clutch pedal contacts the clutch pedal bracket stopper when the clutch pedal is at the maximum stroke position.

(A) | In the longer direction |
(B) | In the shorter direction |
5. Make sure that the clutch pedal contacts the clutch switch side when the pedal is released.
6. Turn the push rod to shorten until a clearance is gained on the clutch switch side.

(A) | Clutch switch |
(B) | Stopper |
7. Turn the push rod to lengthen until clutch pedal contacts the clutch switch.
8. Turn further in the direction that will shorten the push rod by 270°.

(A) | In the longer direction |
(B) | In the shorter direction |
9. Check that the clevis pin moves smoothly by moving it in the left and right directions.
10. Tighten the push rod lock nut.
Tightening torque (push rod lock nut):
T: 10 N·m (1.0 kgf-m, 7.4 ft-lb)

11. Depress and release the clutch pedal two or three times to ensure that the clutch pedal and release lever operate smoothly. If the clutch pedal and release lever do not operate smoothly, bleed air from the clutch hydraulic system. Clutch Fluid Air Bleeding">
12. Measure the clutch pedal full stroke length again to ensure that it is within specifications. If it is not within specifications, repeat adjustment procedures again from the beginning.
Clutch pedal full stroke:
130 — 135 mm (5.12 — 5.31 in)
13. Push the release lever until the operating cylinder push rod retracts. Check that the brake fluid level in the reservoir tank increases.

(1) | Push rod |
(2) | Release lever |
(3) | Operating cylinder |
14. If the brake fluid level increases, hydraulic clutch play is correct.
15. If the brake fluid level does not increase or push rod does not retract, readjust the clutch pedal.
16. Check the brake fluid level using the scale on the reservoir tank. Clutch Fluid > INSPECTION">
Clutch pedal
RemovalDisassembly
CONTINUOUSLY VARIABLE TRANSMISSION(TR580) > Forward Clutch AssemblyDISASSEMBLY1. FORWARD CLUTCH ASSEMBLY1. Remove the snap ring.2. Remove the retaining plate, drive plate, driven plate and dish plate.3. Compress the return spring using the ST to remove the snap ring.ST1 18762AA010COMPRESSOR SP ...
Removal
BRAKE > Front Disc Brake AssemblyREMOVALCAUTION:Do not allow brake fluid to come in contact with the painted surface of the vehicle body. If it does, wash off with water and wipe away completely.1. Lift up the vehicle, and then remove the front wheels.2. Remove the caliper body assembly.(1) Remov ...
Pressure switch (triple pressure switch) Inspection
HVAC SYSTEM (HEATER, VENTILATOR AND A/C) > Pressure Switch (Triple Pressure Switch)INSPECTION1. Connect the manifold gauge to the service valve on the high-pressure side.2. Disconnect the connector.3. Start the air conditioner, and check the operating pressure of switch by turning the compressor ...