DRIVE SHAFT SYSTEM > Rear Hub Unit Bearing
INSTALLATION
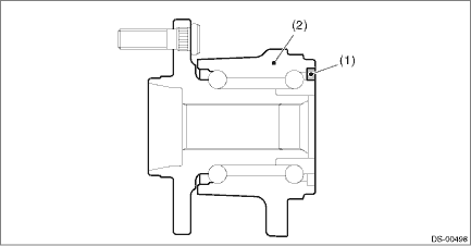
1. Place the rear brake back plate between the rear axle housing and the rear hub unit bearing, and tighten the bolt.
CAUTION:
• Be careful not to damage the magnetic encoder.
• Do not get closer the tool which charged magnetism to magnetic encoder.
• Use a new bolt.
Tightening torque:
65 N·m (6.6 kgf-m, 47.9 ft-lb)

(1) | Magnetic encoder | (2) | Rear hub unit bearing |

(a) | Rear axle housing | (b) | Rear brake back plate | (c) | Rear hub unit bearing |
2. Install the rear drive shaft assembly.
CAUTION:
• Do not hammer the drive shaft assembly when installing.
• Use new axle nuts.
(1) Insert the drive shaft assembly into the hub spline, and pull it into the specified position.
(2) Tighten the axle nut temporarily.
3. Install the disc rotor to the rear hub unit bearing.
4. Install the caliper body assembly to the rear axle housing.
Tightening torque:
Refer to “COMPONENT” of “General Description” for the tightening torque. General Description > COMPONENT">
5. Install the brake hose bracket.
Tightening torque:
33 N·m (3.4 kgf-m, 24.3 ft-lb)
6. Install the rear ABS wheel speed sensor.
Tightening torque:
7.5 N·m (0.8 kgf-m, 5.5 ft-lb)
7. While pressing the brake pedal, tighten the new axle nuts to the specified torque.
CAUTION:
Do not load the rear axle before tightening the axle nut. Doing so may damage the hub unit bearing.
Tightening torque:
190 N·m (19.4 kgf-m, 140.1 ft-lb)
8. After tightening the axle nut, lock it securely.

9. Install the rear wheels, and perform the following inspections.
Tightening torque:
Except for C4 model: 120 N·m (12.2 kgf-m, 88.5 ft-lb)
C4 model: 100 N·m (10.2 kgf-m, 73.8 ft-lb)
(1) Check the wheels for smooth rotation.
(2) Check that there is no looseness by moving the upper and lower portions of rear tire in an axial direction with the brake pedal released.
• Looseness exists > Check the rear hub unit bearing. Rear Hub Unit Bearing > INSPECTION">

Inspection
General diagnostic table InspectionDtc p0021 "a" camshaft position - timing over-advanced or system performance bank 2
ENGINE (DIAGNOSTICS)(H4DO) > Diagnostic Procedure with Diagnostic Trouble Code (DTC)DTC P0021 "A" CAMSHAFT POSITION - TIMING OVER-ADVANCED OR SYSTEM PERFORMANCE BANK 2DTC detecting condition:Detected when two consecutive driving cycles with fault occur.Trouble symptom:• Engine sta ...
Dtc b1572 imm circuit except antenna circuit
KEYLESS ACCESS WITH PUSH BUTTON START SYSTEM (DIAGNOSTICS) > Diagnostic Procedure with Diagnostic Trouble Code (DTC)DTC B1572 IMM CIRCUIT EXCEPT ANTENNA CIRCUIT1. EXCEPT FOR C0 AND C5 MODELSDTC detecting condition:Communication error between keyless access CM and ECMTrouble symptom:Engine will no ...
Dtc b1801 open in driver s airbag
AIRBAG SYSTEM (DIAGNOSTICS) > Diagnostic Chart with Trouble CodeDTC B1801 OPEN IN DRIVER’S AIRBAGDiagnosis start condition:Ignition voltage is 10 V to 16 V.DTC detecting condition:• Airbag main harness circuit is open.• Airbag module harness (driver’s side) circuit is open ...