ENGINE (DIAGNOSTICS)(H4DO) > Electrical Component Location
LOCATION
1. CONTROL MODULE

(1) | Engine control module (ECM) | (3) | Malfunction indicator light | (4) | Data link connector |
(2) | Delivery (test) mode fuse |




2. SENSOR

(1) | Mass air flow and intake air temperature sensor | (5) | Crankshaft position sensor | (9) | Intake camshaft position sensor |
(2) | Tumble generator valve actuators (with built-in opening angle switch) | (6) | Knock sensor | (10) | Exhaust camshaft position sensor |
(3) | Electronic throttle control | (7) | Battery current sensor | (11) | Engine oil temperature sensor |
(4) | Manifold absolute pressure sensor | (8) | Battery temperature sensor | (12) | Engine coolant temperature sensor |











(1) | Front oxygen (A/F) sensor | (3) | Front catalytic converter | (4) | Rear catalytic converter |
(2) | Rear oxygen sensor |

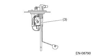
(1) | Leak check valve ASSY (with built-in pressure sensor) | (2) | Fuel level sensor | (3) | Fuel sub level sensor |




3. SOLENOID VALVE, ACTUATOR, EMISSION CONTROL SYSTEM PARTS AND IGNITION SYSTEM PARTS

(1) | EGR control valve | (4) | Fuel injector | (6) | Tumble generator valve actuator |
(2) | Purge control solenoid valve | (5) | Ignition coil | (7) | Exhaust oil control solenoid |
(3) | Intake oil control solenoid |









(1) | Leak check valve ASSY | (2) | Canister |



(1) | Starter | (5) | Fuel pump relay | (9) | Radiator main fan relay 1 |
(2) | Fuel pump | (6) | A/F, oxygen sensor relay | (10) | Radiator main fan relay 2 |
(3) | Main relay | (7) | Electronic throttle control relay | (11) | Radiator sub fan relay |
(4) | IG relay | (8) | Starter relay 1 |






Drive cycle Procedure
Engine control module (ecm) i/o signal Electrical specificationAssembly
CONTINUOUSLY VARIABLE TRANSMISSION(TR580) > Transmission CaseASSEMBLY1. Face the O-ring side of the CVTF filter to the transmission case side, and install the CVTF filter.NOTE:Apply CVTF to the O-ring of CVTF filter.2. Install the CVTF filter cover and gasket.NOTE:Use a new gasket.Tightening torq ...
Dtc b1838 short in curtain shield airbag lh squib circuit (to +b)
AIRBAG SYSTEM (DIAGNOSTICS) > Diagnostic Chart with Trouble CodeDTC B1838 SHORT IN CURTAIN SHIELD AIRBAG LH SQUIB CIRCUIT (TO +B)Diagnosis start condition:Ignition voltage is 10 V to 16 V.DTC detecting condition:• Curtain airbag harness (LH) is shorted to power supply.• Curtain airbag ...
Installation
MANUAL TRANSMISSION AND DIFFERENTIAL(5MT) > Drive Pinion Shaft AssemblyINSTALLATION1. Remove the front differential assembly.2. Hypoid gear set match mark/No.: The number (A) on top of the drive pinion, and the number on the hypoid driven gear are set numbers for the two gears. Use a pair having ...