EMISSION CONTROL (AUX. EMISSION CONTROL DEVICES)(H4DO) > Purge Control Solenoid Valve
REMOVAL
1. Disconnect the ground cable from battery.

2. Remove the bolt which holds the purge control solenoid valve onto intake manifold.
NOTE:
Hold the purge control solenoid valve unit by hand to prevent it from rotating together.

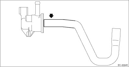
3. Disconnect the vacuum hose from the intake manifold and intake manifold clip (A).

4. Disconnect the vacuum hose (A) and connector (B) from the purge control solenoid valve, and remove the purge control solenoid valve.

5. Remove the vacuum hose from the purge control solenoid valve.

Inspection
InstallationDtc b1618 front sub sensor lh initialization error
AIRBAG SYSTEM (DIAGNOSTICS) > Diagnostic Chart with Trouble CodeDTC B1618 FRONT SUB SENSOR LH INITIALIZATION ERRORDiagnosis start condition:Ignition voltage is 10 V to 16 V.DTC detecting condition:• Open or short circuit in harness of front sensor bus (LH)• Front sub sensor (LH) is fa ...
Removal
FUEL INJECTION (FUEL SYSTEMS)(H4DO) > Electronic Throttle Control RelayREMOVAL1. Disconnect the ground cable from battery and wait for at least 60 seconds before starting work.2. Release the lock and remove the fuse holder from the relay & fuse box.3. Disconnect the connectors from the relay ...
List of diagnostic trouble code (dtc) List
AUTO HEADLIGHT BEAM LEVELER SYSTEM (DIAGNOSTICS) > List of Diagnostic Trouble Code (DTC)LISTDTCItemContent of diagnosisReferenceU0073CONTROL MODULE COMMUNICATION BUS OFFDetected when CAN line abnormality is detected. Diagnostic Procedure with Diagnostic Trouble Code (DTC) > DTC U0073 CONTROL M ...