DRIVE SHAFT SYSTEM > Rear Hub Unit Bearing
REMOVAL
1. Lift up the vehicle, and then remove the rear wheels.
2. Remove the axle nut.
CAUTION:
Do not loosen the axle nut while the rear axle is loaded. Doing so may damage the hub unit bearing.
(1) Lift the crimped section of axle nut.
(2) Remove the axle nut using a socket wrench while depressing the brake pedal.

3. Remove the rear ABS wheel speed sensor from the rear axle housing.
(1) Remove the bolts, and remove the rear ABS wheel speed sensor.
(2) Remove the rear ABS wheel speed sensor harness from the upper arm.
CAUTION:
• Be careful not to damage the sensor.
• Do not apply excessive force to the sensor harness.
• Leave the sensor harness clamp (white arrow) on the vehicle side.

4. Remove the caliper body assembly from the rear axle housing.
(1) Remove the bolts and then remove the brake hose bracket and caliper body assembly.

(2) Prepare wiring harnesses etc. to be discarded, and suspend the caliper body assembly from the strut assembly.

5. Remove the rear disc rotor.
NOTE:
If it is difficult to remove the rear disc rotor, perform the following two methods in order.
(1) Remove the adjusting hole cover (A), insert the flat tip screwdriver, and rotate the adjuster assembly - rear brake until the brake shoe moves far enough to remove the disc rotor.

(a) | Adjuster ASSY - rear brake | (c) | Disc rotor | (e) | Shorten the adjuster ASSY - rear brake |
(b) | Flat tip screwdriver | (d) | Extend the adjuster ASSY - rear brake |
(2) If the disc rotor is not removed after performing above step, screw in an 8 mm (0.31 in) bolt to the threaded part (A) of the disc rotor, and remove the disc rotor.

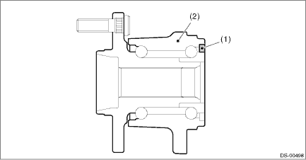
6. Remove the bolt from the rear axle housing, and remove the rear hub unit bearing.
CAUTION:
• Be careful not to damage the magnetic encoder.
• Do not get closer the tool which charged magnetism to magnetic encoder.

(1) | Magnetic encoder | (2) | Rear hub unit bearing |

(a) | Rear axle housing | (b) | Rear brake back plate | (c) | Rear hub unit bearing |
NOTE:
If it is hard to remove, use the ST.
Preparation tool:
ST1: AXLE SHAFT PULLER (926470000)
ST2: AXLE SHAFT PULLER PLATE (28099PA110)

Assembly
DisassemblyDtc c0045 tcm malfunction
VEHICLE DYNAMICS CONTROL (VDC) (DIAGNOSTICS) > Diagnostic Procedure with Diagnostic Trouble Code (DTC)DTC C0045 TCM MALFUNCTIONDTC detecting condition:Defective TCMTrouble symptom:• ABS does not operate.• VDC does not operate.• EyeSight does not operate.STEPCHECKYESNO1.CHECK CVT ...
Diagnostic procedure with cancel code Dtc b2328 rear radar internal failure (radar misalignment)
Blind Spot Detection/Rear Cross Traffic Alert (DIAGNOSTICS) > Diagnostic Procedure with Cancel CodeDTC B2328 REAR RADAR INTERNAL FAILURE (RADAR MISALIGNMENT)DETECTING CONDITION:• Excessive impact was given to the installation area of the radar sensor, which resulted in deviation of the rada ...
Vehicle Dynamics Control OFF switch
Vehicle Dynamics Control OFF switch
Vehicle Dynamics Control OFF switch
Pressing the Vehicle Dynamics Control
OFF switch deactivates the Vehicle Dynamics
Control system.
Creating an adequate driving wheel slip by
deactivating the Vehicle Dynamics Control
system temporarily may help to e ...