BRAKE > Brake Booster
REMOVAL
CAUTION:
• Do not allow brake fluid to come in contact with the painted surface of the vehicle body. If it does, wash off with water and wipe away completely.
• Before handling the airbag system components, always refer to “CAUTION” of “General Description” in “AIRBAG SYSTEM”. General Description > CAUTION">
1. Disconnect the ground cable from battery and wait for at least 60 seconds before starting work. NOTE">
2. Remove the column assembly - steering. Steering Column > REMOVAL">
3. Drain brake fluid from the reservoir tank completely.
4. Disconnect the air conditioner pipe. Hose and Pipe > REMOVAL">
5. Remove the power steering control module. Power Steering Control Module > REMOVAL">
6. Remove the master cylinder assembly. Master Cylinder > REMOVAL">
7. Remove the clamp and remove the vacuum hose (a).

8. Remove the brake pipe assembly (a).
(1) Disconnect the starter connector (b) and harness clip (c).
(2) Remove the brake pipe assembly (a) from the pipe clip (d).

9. Remove the cover assembly - instrument panel LWR driver. Instrument Panel Lower Cover > REMOVAL">
10. Remove the knee airbag module. Knee Airbag Module > REMOVAL">
11. Remove the column assembly - steering. Steering Column > REMOVAL">
12. Remove the snap pin (a) and clevis pin (b), and remove the operating rod from the brake pedal.
CAUTION:
• Be careful not to apply excessive force to the operating rod when handling the operating rod. The angle may change by ±3°, and it may result in damage to power piston cylinder.
• Do not change the push rod length.

13. Remove the vacuum booster assembly.
CAUTION:
• Do not disassemble the vacuum booster assembly.
• Make sure that the booster shell and vacuum pipe are not subject to strong impacts.
• Be careful not to drop the vacuum booster assembly. If the vacuum booster assembly is dropped accidentally, replace it.
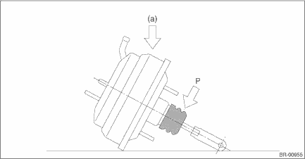
• Be careful when placing the vacuum booster assembly on floor.
• If external force (a) is applied from above when the vacuum booster assembly is placed in this position, the resin portion as indicated by “P” may become damaged.

(1) Remove the nuts, and then remove the vacuum booster assembly.

Inspection
InstallationAssembly
MECHANICAL(H4DO) > Cylinder HeadASSEMBLY(1)Exhaust valve(6)Valve spring(11)Intake valve guide(2)Intake valve(7)Valve spring retainer(12)Exhaust valve guide(3)Cylinder head(8)Valve collet(13)Roller rocker arm pivot(4)Valve spring seat(9)Valve shim(14)Roller rocker arm(5)Intake valve oil seal(10)Ex ...
Dtc p2751 intermediate shaft speed sensor "c" circuit no signal
CONTINUOUSLY VARIABLE TRANSMISSION (DIAGNOSTICS) > Diagnostic Procedure with Diagnostic Trouble Code (DTC)DTC P2751 INTERMEDIATE SHAFT SPEED SENSOR "C" CIRCUIT NO SIGNALDTC detecting condition:Immediately at fault recognitionTrouble symptom:• Shifting shock is felt.• Acceler ...
Diagnostic procedure for subaru select monitor communication Communication for initializing impossible
CONTINUOUSLY VARIABLE TRANSMISSION (DIAGNOSTICS) > Diagnostic Procedure for Subaru Select Monitor CommunicationCOMMUNICATION FOR INITIALIZING IMPOSSIBLEDiagnosis:Defective harness connectorTrouble symptom:Subaru Select Monitor communication failureCAUTION:Use the check board when measuring the TC ...