AIRBAG SYSTEM > Side Airbag Module
INSTALLATION
CAUTION:
• Before handling the airbag system components, refer to “CAUTION” of “General Description” in “AIRBAG SYSTEM”. General Description > CAUTION">
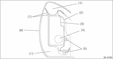
• Make sure that the side airbag module is installed as shown in the figure.

(1) | Pad ASSY - front seat backrest | (4) | Side airbag module inflator | (7) | Side airbag guide cloth |
(2) | Frame ASSY - front backrest | (5) | Nut | ||
(3) | Side airbag module protective cover | (6) | Cover COMPL - front backrest |
• Be careful not to stain or damage the cover COMPL - front backrest during assembly.
• Do not reuse hog rings.
• Secure the hog ring using hog ring pliers.
• Install the hog rings to the specified points securely and make sure that there is no wrinkle or twisting on the cover COMPL - front backrest.
1. Before installation, inspect the following items and replace any faulty part with a new one.
• Make sure that there is no foreign matter on side airbag module.
• Front seat, airbag module and mounting bracket are damaged or deformed.
• Harness and/or connector is cracked, deformed or open.
• Harness wire is exposed.
2. Install the side airbag module to the frame assembly - front backrest.
Tightening torque:
Side airbag module: 6 N·m (0.61 kgf-m, 4.4 ft-lb)
3. Install the side airbag harness to the frame assembly - front backrest.
4. Install the cover COMPL - front backrest.
5. Secure the backrest hinge.

Tightening torque:
Refer to “COMPONENT” of “General Description”. General Description > COMPONENT">
6. Install the side airbag harness to the back of the seat cushion assembly using a cable clip.
CAUTION:
After restoring the seat, operate the reclining and sliding mechanisms to check that the side airbag harness is not caught.
7. Install the front seat assembly to the body. Front Seat > INSTALLATION">
8. Connect the battery ground terminal. NOTE">
RemovalComponent
CLUTCH SYSTEM > General DescriptionCOMPONENT1. CLUTCH ASSEMBLY(1)Dust cover(6)Release bearingTightening torque: N·m (kgf-m, ft-lb)(2)Lever spring(7)Clutch coverT1:16 (1.6, 11.8)(3)Pivot(8)Clutch discT2: Flywheel > INSTALLATION">(4)Release lever(9)Flexible flywheel (5)Clip(10)Pi ...
Preparation tool
DIFFERENTIALS > General DescriptionPREPARATION TOOL1. SPECIAL TOOLILLUSTRATIONTOOL NUMBERDESCRIPTIONREMARKS398477701HANDLE• Used for installing the rear bearing race.• Used for installing the front bearing race.398477702DRIFT• Used for installing the front bearing race. (T-type) ...
Checking the fluid level
WARNING
Never let clutch fluid contact your
eyes because clutch fluid can be
harmful to your eyes. If clutch fluid
gets in your eyes, immediately flush
them thoroughly with clean water.
For safety, when performing this
work, wearing eye protection is
advisable.
CAUTION
Clutch fluid ab ...