CONTROL SYSTEMS > MT Gear Shift Lever
DISASSEMBLY
1. Remove the lock wires.

(A) | Lock wire |
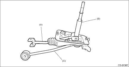
2. Remove the rod from gear shift lever.

(A) | Rod |
(B) | Lever |
(C) | Stay |
3. Separate the rod and inner boot.
4. Remove the snap ring from the stay.

(A) | Snap ring |
5. Separate the gear shift lever and the stay.

6. Remove the boot and bushing from the gear shift lever.

(A) | O-ring |
(B) | Bushing |
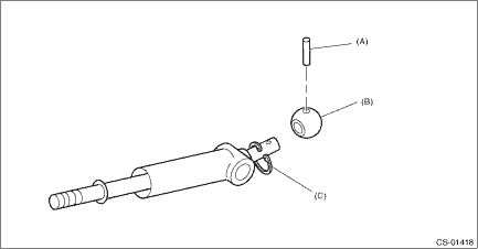
7. Remove the spring pin, and then remove the bushing and snap ring.

(A) | Spring pin |
(B) | Bushing |
(C) | Snap ring |
8. Remove the boss from the joint.

9. Remove the bushing and spacer from the boss.

(A) | Bushing |
(B) | Spacer |
10. Remove the bushing and cushion rubber from the stay.

(A) | Bushing B |
(B) | Stay |
(C) | Cushion rubber |
Removal
InspectionDtc p0014 "b" camshaft position - timing over-advanced or system performance bank 1
ENGINE (DIAGNOSTICS)(H4DO) > Diagnostic Procedure with Diagnostic Trouble Code (DTC)DTC P0014 "B" CAMSHAFT POSITION - TIMING OVER-ADVANCED OR SYSTEM PERFORMANCE BANK 1DTC detecting condition:Detected when two consecutive driving cycles with fault occur.Trouble symptom:• Engine sta ...
Removal
SEATS > Seat Heater SystemREMOVAL1. SEAT HEATER UNIT1. Remove the front seats. Front Seat > REMOVAL">2. Remove the backrest cover of front seat and seat cushion cover. Front Seat > DISASSEMBLY">3. Remove the seat heater module.CAUTION:If the seat heater module is removed, ...
Diagnostic procedure for subaru select monitor communication Communication for initializing impossible
ENGINE (DIAGNOSTICS)(H4DO) > Diagnostic Procedure for Subaru Select Monitor CommunicationCOMMUNICATION FOR INITIALIZING IMPOSSIBLEDIAGNOSIS:Open or short circuit in data link connectorTROUBLE SYMPTOM:Subaru Select Monitor communication failureWIRING DIAGRAM:Engine electrical system Engine Electr ...